Page 686 - 水土保持手冊_10612
P. 686

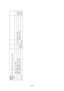
地震時土
                                                             2
                     砂壓力增         P ae    5 . 0 K ae  1 ( − K v )γ sub  H m  =  51 . 56
                         量
                                 ∆ P ae    P ae  − P a  =  25  8 .

                                                                                                  6 .
                                 ∆ P aeh    ∆P ae  cos( + εδ  ) = 12  7 .                +12.7  0 H   m  =  . 4  87                           61.85
                                 ∆ P aev    ∆P ae  sin( + εδ  ) =  22  4 .      +22.4           m 2 H  m  3 / =  . 2  17                       48.6
                       合   計                                                    232.0    107.8                                               1745.0













          土-4-7
   681   682   683   684   685   686   687   688   689   690   691